面料字段配置
发布于:2024-05-07
面料字段用途
资源中心面料库,面料信息存储沉淀
3D详情页字段内容显示,也可以针对不同客户设置显示字段内容
炫布小程序面料详情显示
筛选字段内容配置来源
标签打印字段配置来源



Cloud面料字段用途
面料字段配置
点“全部菜单”,搜索“面料”,点击进入设置中心下的面料

Cloud面料字段配置
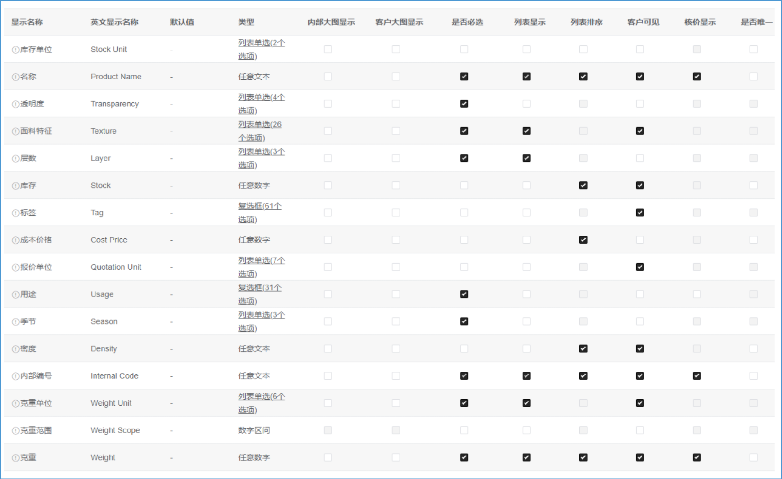
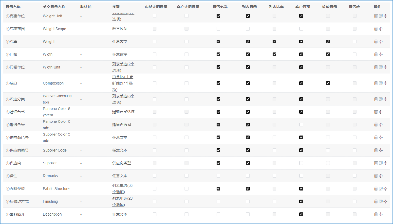
面料字段分为:面料基础字段和面料规格字段
面料基础字段指同一种面料不同颜色的共同的信息
面料规格字段指“内部色号”、“供应商色号”、“潘通色号”、“潘通色系”、“coloro色号”、“RGB色号”等面料颜色相关的信息

以面料基础字段为例,讲解如何配置面料字段
点击配置字段,在弹窗中可以看到,系统针对“产品基础信息”、“产品属性信息”、“产品详情信息”、“产品核价信息”,分别提供了一些可供直接选择使用的字段,建议直接从这里选用

b. 如果系统提供的字段不能满足需要,也可以通过自定义字段,新增自己的专属字段;自定义字段不支持英文自动翻译,如果后续需要显示英文字段名称,此字段为必填项,如不需要可忽略

c. 选择字段类型,对应不同的配置方式,任意文本:文字/数字/字母都可,任意数字:只能填写数字信息,列表单选:单项选择列表内容,复选框:可多选,更多字段类型解释请查阅《字段类型介绍全集》

字段功能说明
显示名称:平台字段内置默认显示名称,如需更改显示名称,鼠标放置在对应的字段上,会出现“铅笔”图标,点击进行编辑内容,“回车键”保存即可
英文显示名称:平台字段内置默认显示英文名称,如需更改显示名称,方法同上,点击编辑即可,主要用于平台英文显示及标签打印
默认值:可选择比较常规的字段数据,设为默认值后,面料上传时,不需要再次填写相关数据
类型:类型为列表单选、复选框、有下划线的字段,点击可以进入二级菜单,可以根据企业使用情况新增/删除可选内容
内部大图显示:面料库大图模式显示,面料图片下方所显示字段,可根据需求自定义配置
客户大图显示:功能同上;是否必选:勾选后,该字段在新增或编辑不填时无法保存
列表显示/排序:勾选后,列表模式下显示和排序功能
客户可见:勾选后可设置客户角度能看到的字段内容
是否唯一:勾选后,在新增或编辑界面保存时,字段填写与已有内容相同时无法保存

面料字段设置技巧
前期在字段配置的时候,多花时间做规划,避免后续大批量更改字段内容
除了常规的字段外,可根据所经营品类,配置“标签”/“用途”等字段
字段是面料搜索和筛选的关键
面料录入前需要内部规范,面料字段内容的书写要求,如面料名称、编号等
注意事项:考虑2D实物面料存储位置,便于线上选料后,快速找到实物面料

面料字段设置建议

